07案例名称:浙江某印染企业废水处理提标改造
工程概况:
生产废水主要包括染色废水和碱减量废水,染色废水:设计水量2000t/d,pH为7~8,COD为1800mg/L,氨氮质量浓度为30mg/L,SS质量浓度为300mg/L,色度200倍;碱减量废水:设计水量200t/d,pH>14,COD10000mg/L,氨氮质量浓度为30mg/L,SS质量浓度为200mg/L,色度1000倍。
设计水质指标:

主体工艺:
气浮+生化+气浮组合
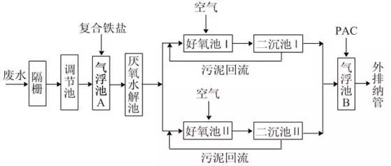
工艺流程:

构筑物:

处理效果:
运行结果表明,好氧池出水水质较好,COD去除率可达80%以上,处理后的出水水质COD<200mg/L,满足纺织染整工业水污染物排放纳管标准。
工程投资:

总投资约100万元。
08案例名称:嘉兴市某园区印染企业低浓度印染废水回用工程
工程概况:
设计处理规模1500m3/d,回用水量800m3/d,回用率50%以上。
设计水质指标:

主体工艺:
混凝+水解酸化+A/O
工艺流程:

低浓度废水处理系统:
1、废水集水池。配套设备为潜污泵2台(1用1备);粗格栅(d=10mm)1台;细格栅(d=5mm)1台。
2、废水调节池。配套设备为废水提升泵2台(1用1备);穿孔曝气管,DN50,开孔直径5mm;超声波液位计1台。
3、混凝反应池。采用PAC作为混凝剂,聚丙烯酰胺(PAM)为助凝剂,pH为8~8.5。配套设备为框式反应搅拌机3台,搅拌速度分别为20、10、5r/min。
4、初沉池。配套设备为污泥泵,2台(1用1备),斜管及支架;出水溢流堰及挡渣板,1套。
5、水解酸化池。内置生物组合填料,潜水搅拌机2台。
6、A/O池。配套设备为三叶罗茨鼓风机2台(1用1备);可变微孔曝气器,单个曝气头释放量1~3m3/h。
7、二沉池。配套设备为污泥回流泵2台(1用1备);出水溢流堰及挡渣板1套。
回用水处理系统:
1、产水池。1座4格,由中间水池、砂滤出水池、超滤产水池和RO产水回用池合建。配套产水输送泵及液位计。
2、机械过滤器2座。配套设备:增压泵2台,砂滤反洗泵2台。
3、超滤膜组。超滤抽吸泵2台(1用1备);超滤反洗泵2台(1用1备);鼓风机1台,杀菌剂计量泵1台,中间水箱10m3,超声波液位计2台。
4、反渗透膜组件。1套,采用陶氏抗污染卷式膜元件,单只8040RO膜产水能力0.585m3/h,RO膜芯数90根,每根膜壳6芯,RO系统采用二级处理方式运行,一级两列12根膜壳,二级一列6根膜壳,浓缩液进入调节池,系统产水能力800m3/d(34.0m3/h),除盐率90%以上,回收率80%以上。膜组件设计寿命3a。配备高压水泵1台,保安滤器1套,控制系统1套,清洗装置1套,絮凝剂、还原剂、阻垢剂加药箱及计量泵3套。
处理效果:
RO出水COD、色度和SS分别为15mg/L、3倍和1mg/L,系统去除率分别达96.7%、96.3%和99.8%。各指标都低于设计回用标准,回用率53%
工程投资:
工程总计489.78万元。电费1.98元/m3,药剂费0.56元/m3,易耗品更换费用为0.84元/m3,人工费0.15元/m3,运行成本3.53元/m3。年节约用水24万t,年减少支出150万余元。
09项目名称:湖北省某印染工业园区废水集中处理工艺改造
工程概况:
预期建设规模为150000m3/d,分三期完成。一期集中处理工程经过多年运行,已达不到预期处理效果,亟需进行升级改造,并建设二期工程,以保证改造后出水水质达到《纺织染整工业水污染物排放标准》(GB4287—2012)
设计水质指标(一期):

设计水质指标(二期):

主体工艺:
一期采用混凝+水解酸化+好氧处理工艺;二期采用混凝+水解酸化+好氧+深度处理工艺
工艺流程(一期):

工艺流程(二期):

处理效果(一期):

处理效果(二期):

工程投资:

10案例名称:江西某棉纺织印染厂废水处理
工程概况:
产生的综合废水色度高、pH高、COD高、BOD低,并含有少量硫化物。综合废水的B/C约为0.34,可生化性能一般。
废水处理设计最大进水量为4000m3/d。
设计水质指标:

主体工艺:
混凝沉淀+水解酸化+接触氧化组合工艺
工艺流程:

构筑物及设备:


处理效果:

工程投资:
总投资809.9万元,其中土建为376.9万元,设备费为337.4万元。合计用电量为2999.5kW˙h/d,电费以0.6元/(kW˙h)计,电费合计为1799.7元/d,即0.450元/t;药剂费用1953.6元/d,即0.488元/t;另计入工资福利费、维修费、污泥处置费等,则运行直接成本平均为1.02元/t,再计入固定资产折旧,运行总费用为1.27元/t。
11案例名称:杭州下沙经济开发区某纺织印染有限公司废水处理
工程概况:
设计废水处理量为1200m3/d
设计水质指标:

主体工艺:
水解酸化池—兼氧/好氧池—曝气生物滤池联合处理工艺
工艺流程:

构筑物:
调节池。配套设备:穿孔管预曝气系统(与生化池共用风机),污水提升泵2台(Q=40m3/h,H=15m,N=4.0kW,1用1备)
水解酸化池。配套设备:穿孔管曝气系统(与生化池共用风机),新增DQT022低速潜水推流器2台。
兼氧/好氧池。由原A/O系统改造而成。配套设备:原有2台SSR125罗茨风机(Q=13.5m3/min,风压68.5kPa,N=37kW),KKI215微孔曝气器280套。
沉淀池。竖流式,直径6.0m,有效水深2.5m,总深6.0m,共2座,并联使用,表面负荷0.5m3/(m2˙h),半地下砼钢结构,静水压排泥。
曝气生物滤池由2座并联组成.配套设备:底部设KKI215微孔曝气器125套;罗茨鼓风机与生化系统共用;配套反冲洗水泵1台(型号200WQ300-15-22,Q=300m3/h,H=15.0m,N=22kW)冲洗强度为5L/(m2˙s);冲洗时间为5min。
处理效果:
去除率分别为97.4%、95.6%、98.4%,其出水水质可满足纺织印染生产工艺的回用要求。
工程投资:
生产废水量平均为1200m3/d,污水回用率平均为50%,即废水回用量平均为600m3/d,整个改造系统的设备投资约为300万元,年运行330d,具体估算如下:
电费:电价以0.70元/(kW˙h)计,设备实际消耗功率为45kW,则废水回用的电费=45×24×0.7÷600=1.26元/m3废水。
设备维修费:年维修以设备投资5%计,为15万元/a,则废水回用的维修费=150000÷330÷600=0.76元/m3废水。